
출원번호 : 1020220121181 (2022.09.23)
등록번호 :
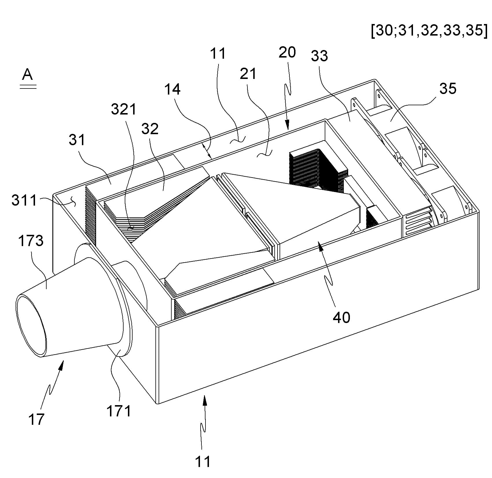
요약 : 본 발명은 패시브 프로젝터 어셈블리에 관한 것으로서, 보다 상세하게는 외함체와, 상기 외함체 내부에 실장되는 내함체를 포함하되, 이 내함체에 영상 송출을 위한 빔 출력수단을 실장시켜 이물질이 빔 출력수단이 설치된 공간에 유입되는 것을 방지하여 깨끗한 영상을 출력할 수 있고, 외함체와 내함체에 위치하는 복수의 냉각유닛을 통하여 장치가 과열되는 것을 방지할 수 있는 패시브 프로젝터 어셈블리에 관한 것이다.




