
출원번호 : 2020220002390 (2022.10.07)
등록번호 : 2004972840000 (2023.09.18)
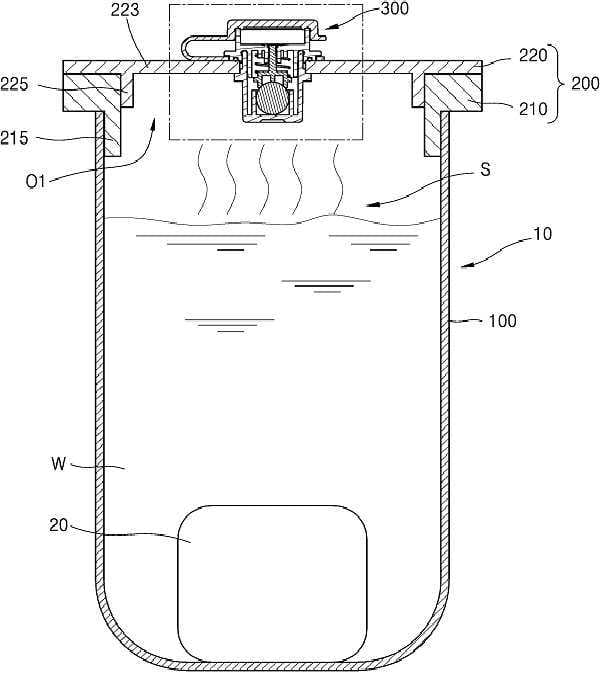
요약 : 본 고안은 가열 가능한 지퍼 팩에 관한 것으로, 본 고안의 지퍼 팩은 일측에 제1 개구를 형성하고, 내부에 수용 공간을 가지며, 상기 제1 개구와 인접한 설치 홀을 갖는 몸체부; 상기 몸체부의 일측에 설치되고, 상기 제1 개구를 개폐하는 개폐부; 및 상기 설치 홀 상에 설치되고, 상기 몸체부 내의 압력을 조절하는 압력 조절 유닛을 포함하고, 상기 압력 조절 유닛은, 일측에 상기 몸체부의 수용 공간과 연결되는 적어도 하나의 유입 홀을 갖고, 타측에 상기 유입 홀에서 유입된 기체가 배출되는 적어도 하나의 배출 홀을 갖는 하우징; 및 상기 하우징 내에 설치되고, 상기 몸체부 내의 압력에 따라 상기 유입 홀을 개폐하는 압력 조절부를 포함하며, 상기 압력 조절부는, 상기 유입 홀 상에 위치되는 구 형상의 마개 볼; 상기 마개 볼이 상기 유입 홀을 향해 가압하도록 탄성력을 제공하는 탄성 부재; 및 상기 마개 볼과 상기 탄성 부재 사이에 위치되어, 상기 탄성 부재와 상기 마개 볼을 연결하는 연결 부재를 더 포함하고, 상기 연결 부재는, 상기 탄성 부재의 일단을 지지하는 지지 플레이트; 상기 지지 플레이트로부터 상기 마개 볼을 향해 돌출되는 복수의 지지 대들; 및 상기 지지 플레이트로부터 상기 탄성 부재의 타단을 향해 돌출되는 이탈 방지부를 포함할 수 있다.




