
출원번호 : 1020220141859 (2022.10.28)
등록번호 : 1025191240000 (2023.04.03)
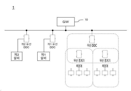
요약 : 본 발명의 다양한 실시 예에 따르면, 상기 빌딩에 포함된 설비를 제어하고, 상기 빌딩의 상태를 모니터링하는 빌딩 관리 시스템이, 게이트웨이, 복수의 유선 DDC(Direct Digital Controller) 및 무선 메시 네트워크를 포함하고, 상기 무선 메시 네트워크에 무선 DDC, 복수의 무선 중계기 및 복수의 측정계가 포함된 상태에서, (a) 상기 빌딩 관리 시스템은, 상기 무선 메시 네트워크에 포함된 측정계를 통해 상기 빌딩 내 구역에 대한 상태 데이터를 획득하는 단계; (b) 상기 빌딩 관리 시스템의 상기 게이트웨이는, 상기 무선 메시 네트워크에 포함된 상기 무선 DDC로부터 상기 구역에 대한 상태 데이터를 수신하는 단계; (c) 상기 게이트웨이는, 상기 상태 데이터를 매칭되는 특정 유선 DDC에 송신하는 단계; 및 (d) 상기 특정 유선 DDC는, 상기 수신한 상태 데이터 및 적어도 하나의 알고리즘에 기초하여 상기 특정 유선 DDC에 연결된 적어도 하나의 설비를 제어하는 단계;를 포함하는, 무선 메시 네트워크를 이용하여 빌딩을 관리하는 방법 및 그 시스템을 제공할 수 있다.




