
출원번호 : 1020220158523 (2022.11.23)
등록번호 : 1025442230000 (2023.06.12)
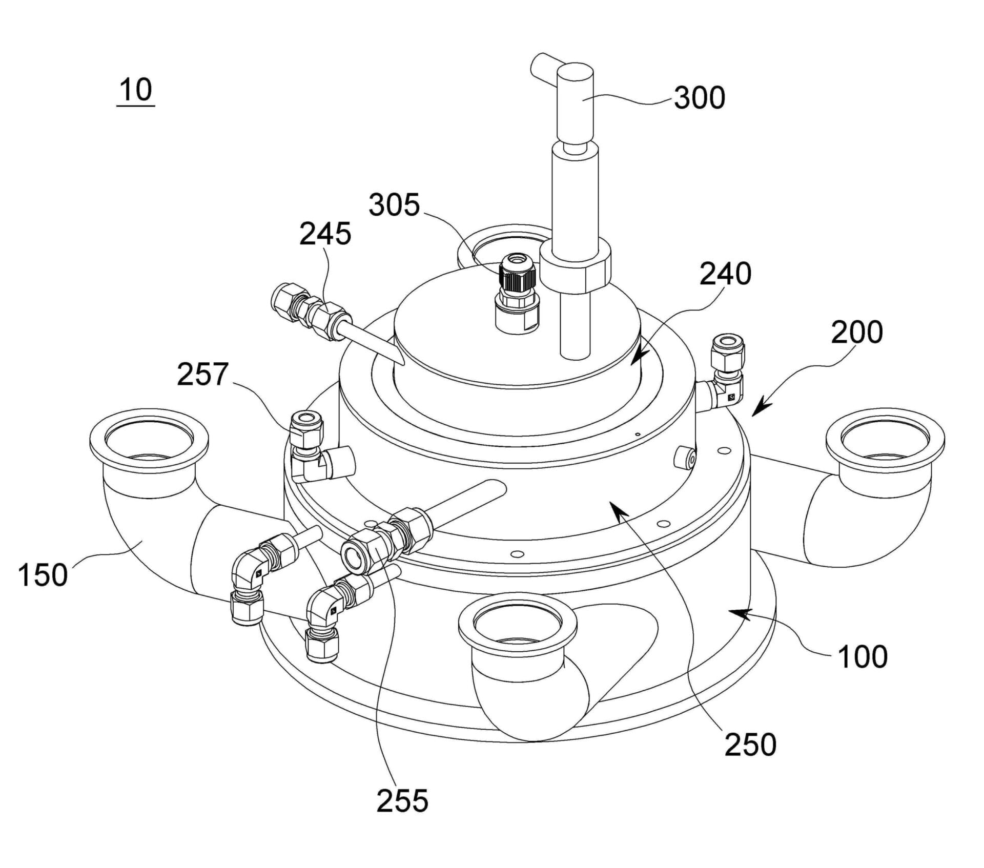
요약 : 본 발명은 처리 가스 저감을 위한 연소 장치에 관한 것으로, 본 발명의 처리 가스 저감을 위한 연소 장치는 처리 가스가 유입되는 유입 공간으로 반응 가스를 공급하는 반응 가스 공급부를 포함하고, 상기 반응 가스 공급부는, 본체부; 상기 본체부를 둘러싸고, 상기 유입 공간을 향해 수소 가스를 분사하는 제1 노즐부; 및 상기 제1 노즐부를 둘러싸고, 상기 유입 공간으로 유동하는 상기 수소 가스에 보조 가스를 공급하는 제2 노즐부를 포함할 수 있다.




