
출원번호 : 1020220160923 (2022.11.25)
등록번호 : 1026185070000 (2023.12.21)
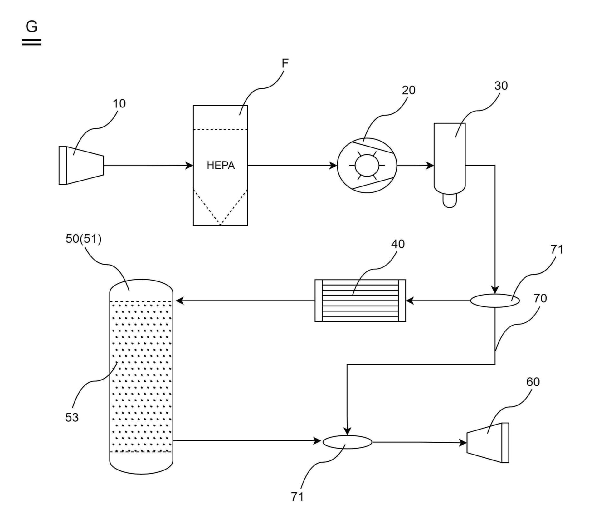
요약 : 본 발명은 산소 발생장치에 관한 것으로서, 외부로부터 공기를 흡입하여 압축하고, 압축된 공기로부터 질소를 흡착하여 산소를 배출하도록 구성하되, 분기관을 통하여 배출되는 산소농도를 낮추어 베드가 접촉하는 공기량을 줄여 베드의 수명을 연장할 수 있도록 고안된 산소 발생장치에 관한 것이다.

출원번호 : 1020220160923 (2022.11.25)
등록번호 : 1026185070000 (2023.12.21)
요약 : 본 발명은 산소 발생장치에 관한 것으로서, 외부로부터 공기를 흡입하여 압축하고, 압축된 공기로부터 질소를 흡착하여 산소를 배출하도록 구성하되, 분기관을 통하여 배출되는 산소농도를 낮추어 베드가 접촉하는 공기량을 줄여 베드의 수명을 연장할 수 있도록 고안된 산소 발생장치에 관한 것이다.