
출원번호 : 1020230003135 (2023.01.09)
등록번호 : 1025247850000 (2023.04.19)
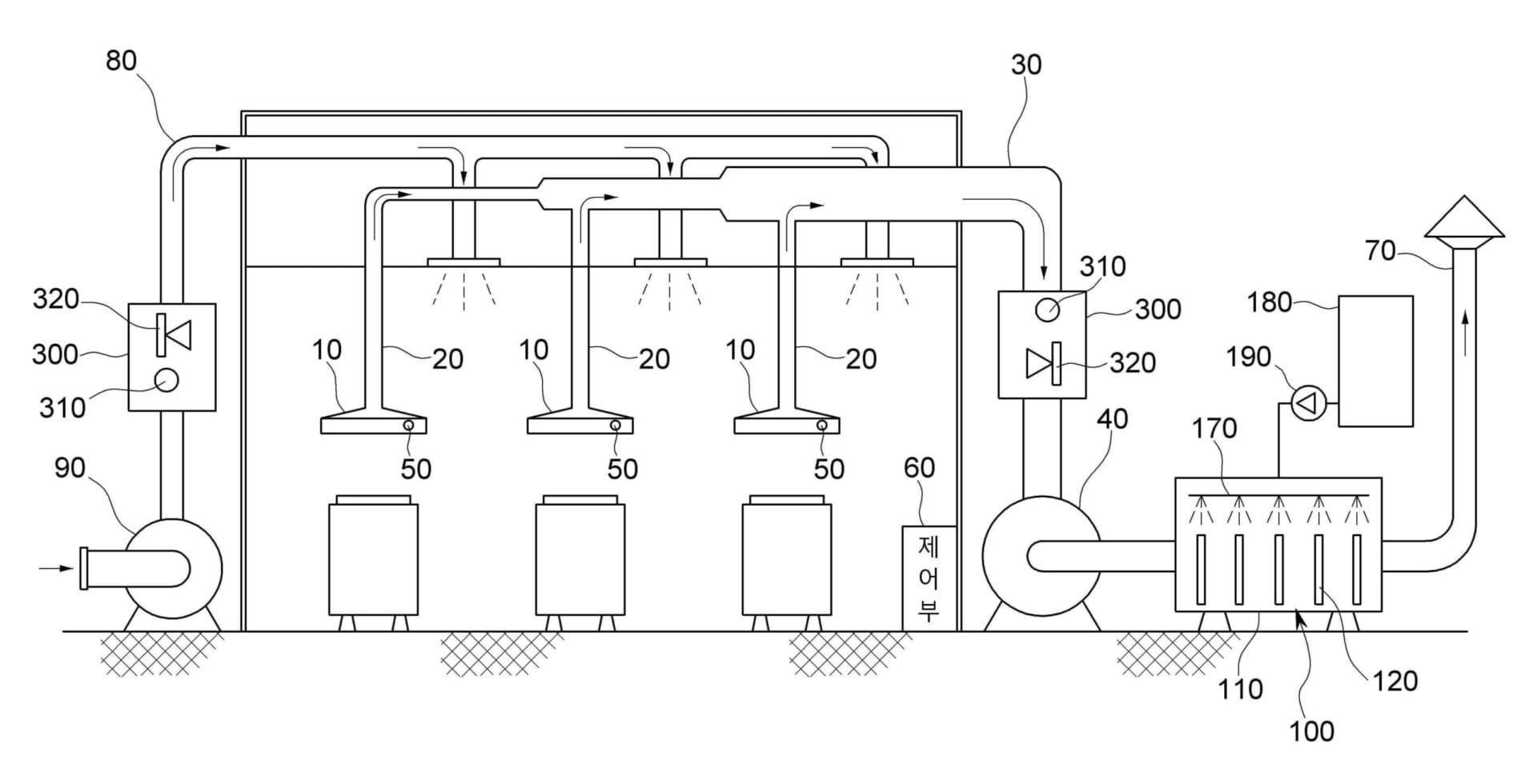
요약 : 본 발명은 급기 및 배기기능을 갖는 조리장 내 조리흄 유해방지 저소음 환기 시스템에 관한 것으로 특히, 적어도 하나의 후드와; 배기 덕트; 적어도 하나의 배기용 송풍기; 적어도 하나의 유해물질 검출센서; 흡기 덕트; 흡기용 송풍기; 적어도 하나의 소음저감수단; 및 제어부;를 포함하며, 상기 후드의 전방 하부에는 조리자가 서있는 위치로 공기를 공급시켜 주는 적어도 하나의 급기팬을 설치하고, 상기 후드의 후방 하부에는 조리자 및 조리기를 통과한 공기를 흡입하여 후드의 출구측으로 배출시켜 주는 적어도 하나의 배기 유도팬을 설치하며, 상기 후드의 저면 중앙에는 기류 안내겸 유분 포집구를 설치한 것을 포함할 수 있다.
따라서, 조리장 내 공기질을 대폭 향상시켜 쾌적한 실내 공기질 환경을 자동으로 조성할 수 있어, 조리장 내에서 종사하는 사람들이 각종 유해물질이 포함된 조리흄을 기준량 이상으로 지속해서 흡입함으로 인해 걸릴 수 있는 폐암 등과 같은 산업재해를 사전에 방지할 수 있고, 또한 조리장 내 근무자들이 흡기 및 배기시 발생되는 소음으로 인해 받게 되는 스트레스를 최소화할 수 있다.




