
출원번호 : 1020230003133 (2023.01.09)
등록번호 : 1025471860000 (2023.06.20)
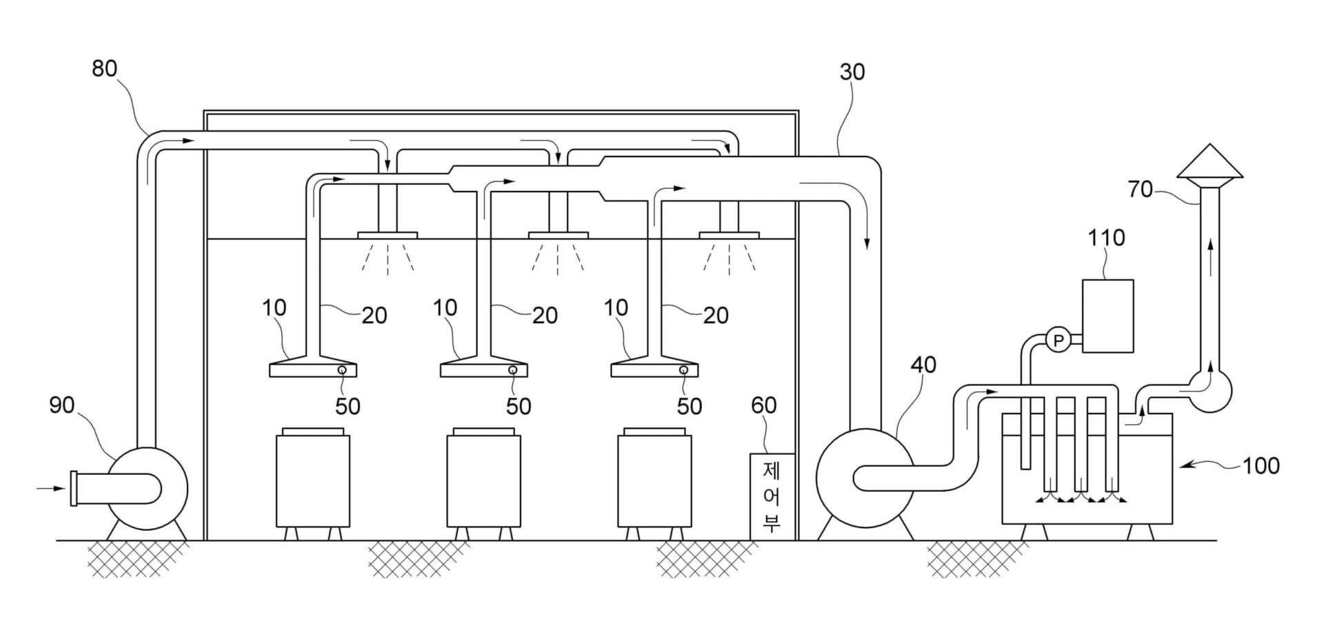
요약 : 본 발명은 공기배출량 조절기능을 갖는 조리장 내 조리흄 유해방지 안전 시스템에 관한 것으로 특히, 조리흄을 수집하는 적어도 하나의 후드와; 상기 후드들을 통해 수집되는 오염공기를 포집하는 배기 덕트와; 조리장 내 조리흄을 포함한 공기를 굴뚝을 통해 강제로 배출하는 배기용 송풍기와; 조리기들을 통해 조리중 배출되는 각종 유해물질에 대한 농도를 검출하는 유해물질 검출센서; 및 상기 유해물질 검출센서에 의해 검출되는 각종 유해물질의 농도와 자체 내에 기억되어 있는 각종 유해물질에 대한 기준치를 상호 비교하고, 그 결과값에 대응하여 상기 배기용 송풍기의 회전수를 제어하는 제어부;를 포함하며, 상기 후드들의 출구측에는 각각 공기배출량 조절용 전자변에 의해 개폐량이 제어되는 댐퍼들을 설치하고, 상기 댐퍼들의 개폐량은 각각의 후드들에 설치된 유해물질 검출센서들에 의해 검출되는 해당 후드 주변의 유해물질 농도값 대비 각 유해물질에 대한 기준값과의 차에 대응하여 상기 제어부에서 출력되는 구동신호에 의해 제어되게 한 것을 포함한다.
따라서, 조리장 내 공기질을 대폭 향상시켜 쾌적한 실내 공기질 환경을 자동으로 조성할 수 있어, 조리장 내에서 종사하는 사람들이 각종 유해물질이 포함된 조리흄을 기준량 이상으로 지속해서 흡입함으로 인해 걸릴 수 있는 폐암 등과 같은 산업재해를 사전에 방지할 수 있다.




