
출원번호 : 1020230089021 (2023.07.10)
등록번호 : 1026185110000 (2023.12.21)
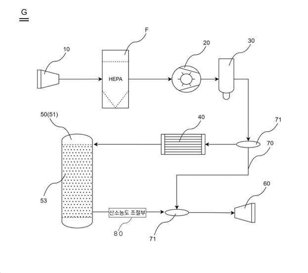
요약 : 본 발명은 산소농도를 용도에 맞게 변경함과 동시에 산소 발생 전 수분을 제거하여 산소 발생 효율을 증가시킨 산소 발생기에 관한 것으로서, 특히 외부로부터 공기를 흡입하는 흡입부와; 상기 흡입부를 통해 흡입된 공기를 압축하는 압축기와; 압축된 공기로부터 수분을 제거하는 수분 제거부와; 제올라이트가 내장된 베드를 둘 이상 포함하여, 상기 압축된 공기로부터 질소를 흡착하여 공기 중의 산소농도를 높이도록 설치되는 베드 모듈와; 상기 베드 모듈로부터 전달되는 산소를 외부로 배출하는 산소 배출부; 및 상기 베드 모듈 출구와 상기 산소 배출부의 입구 사이에 설치되고, 상기 산소 배출부를 통해 사용자에게 제공되는 공기 중의 산소농도가 정해진 농도를 유지하도록 자동 조절해 주는 산소농도 조절부; 를 포함한다.
따라서, 산소 발생 효율을 극대화할 수 있고, 산소 발생기의 수명을 대폭 연장시킬 수 있으며, 사용자의 집중력 향상 및 피로회복과 같은 산소 공급 효과가 유효하고, 안전성도 확보할 수 있다




